Apple tiếp tục cải tiến bản lề tiến gần hơn với iPhone màn hình gập
Một bằng sáng chế mới được cấp cho thấy việc Apple đã phát triển các thiết kế bản lề trước đây, hiện tại đang mô tả màn hình iPhone có thể gập lại với hệ thống bánh răng khá phức tạp. Việc được cấp bằng sáng chế mới giúp Apple giải quyết vấn đề về độ bền màn hình gập, tạo điều kiện cho iPhone màn hình gập sớm xuất hiện.

Bằng sáng chế mới “Bản lề cho thiết bị hiển thị có thể gập lại”
Nếu xuất hiện một chiếc iPhone, iPad hay thậm chí là một chiếc MacBook pro có thể gập lại, thì bản lề của nó có thể trông rất đơn giản là trơn tru khi gập. Tuy nhiên, có lẽ như Apple đang ưu tiên thiết kế với lưới bánh răng liên kết ở bên trong.
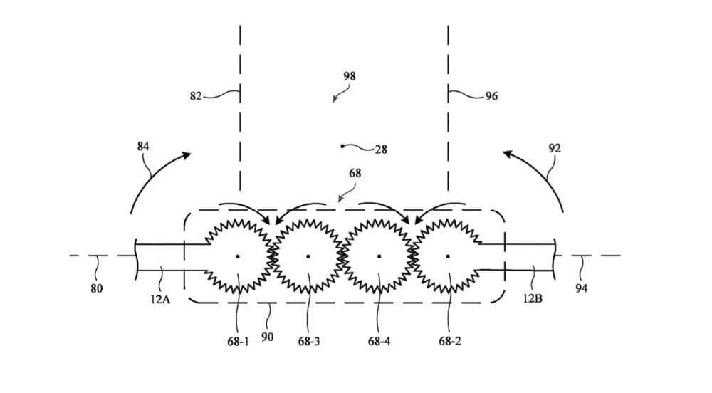
Trong thiết kế trước đây cho thấy Apple đang sử dụng nhiều nhất là ba đến bốn bánh răng nhỏ xoay quanh một bánh răng lớn hơn. Nhưng với bằng sáng chế mới mang tên “Bản lề cho thiết bị hiển thị có thể gập lại” của Apple thì thể hiện rằng các thiết kế có sửa đổi với bốn cặp bánh răng nhỏ, được lắp ráp thành một cụm phức tạp hơn gồm sáu bộ phận tĩnh.

Mô tả sơ bộ thì thiết bị màn hình có thể gập lại có các phần vỏ được ghép nối với nhau bằng bản lề. Các bánh răng được cho phép chuyển động, trong quá trình gấp thiết bị thì các chốt có thể trượt dọc theo các khe hình lưỡi liềm, do đó đảm bảo các liên kết liền kề xoay tương đối với nhau quanh một trục quay nằm bên ngoài bản lề và bên trong một bảng hiển thị linh hoạt

Một bản phác thảo riêng biệt cho thấy một hàng bốn bánh răng liên kết trực tiếp, trong khi những bản phác thảo khác nhằm mô tả các bánh răng bên trong các thành phần cứng khác nhau.
Các liên kết cũng có thể được hình thành từ các thành phần liên kết có bề mặt chịu lực cong trượt tương đối với nhau khi các liên kết liền kề được xoay tương đối với nhau. Apple cũng cho biết "Một cơ chế đồng bộ hóa xoay vỏ có thể được hình thành bằng cách sử dụng một bộ bánh răng kéo dài giữa phần vỏ thứ nhất và thứ hai".
Tất cả những điều này cho thấy Apple đang chuyển từ một hoặc nhiều cơ chế bản lề lớn sang một hệ thống tận dụng nhiều bánh răng nhỏ hơn. Bằng sáng chế mới được cấp có vẻ phức tạp và liên quan hơn những bằng sáng chế trước đó.
Tuy nhiên, có khả năng Apple đang theo đuổi nhiều hơn một thiết kế cho bản lề. Các bằng sáng chế và đơn xin cấp bằng sáng chế trước đây dường như rõ ràng là dành cho iPhone hoặc iPad, nhưng bằng sáng chế này mô tả cụ thể một loạt thiết bị rộng hơn, từ lớn đến nhỏ.
Bằng sáng chế luôn được viết để bao gồm phạm vi ứng dụng rộng nhất có thể của công nghệ của họ. Ngoài ra, trong khi thiết kế mới có vẻ là sự phát triển của các thiết kế trước đó, thì cũng có thể Apple vẫn đang nghiên cứu cả hai.
Bằng sáng chế này được ghi nhận cho 10 nhà phát minh, bao gồm Bradley J Hamel là người có công trình trước đó bao gồm một bằng sáng chế khác được cấp về bản lề ma sát. Ngoài ra còn có Kevin M. Robinson, trước đây được liệt kê trong đơn xin cấp bằng sáng chế liên quan đến cơ chế bản lề, có thể là dành cho MacBook Pro.
Apple từ lâu đã được cho là đang phát triển iPhone Fold. Tuy nhiên, gần đây, có thông tin cho rằng thay vào đó, hãng sẽ tập trung vào iPad có thể gập lại và MacBook Pro.
Cùng đón chờ những thay đổi từ Apple bạn nhé!